高分辨率光譜儀-2061
簡 述:
在McPherson 公司的光譜儀系列產品中,Double Pass 設計光譜儀顯得尤為特別。Double Pass 技術利用反射鏡不同的反射點在同一個光譜儀中衍射兩次,從而使得光譜分辨率提高一倍即相當于光譜儀焦長增加一倍的同時,保持f 數也就是通光量不變,McPherson 所有的長焦長光譜儀都可以采用此類設計
品 牌:
美國 Mcpherson
產品型號:
- 2061
美國McPherson 有限公司是一家專業的光譜儀生產廠商,公司位于波士頓西北部的Chelmsford。自1954 年為美國空氣動力實驗室提供*一套光譜儀,服務于航空航天研究領域,50 多年來,McPherson 一直致力于為世界的科研院所提供的光譜測試設備。在McPherson 的客戶名單上,包括美國NIST,中國TOKAMAK 設備,貝爾實驗室,歐洲聯合環JET,奧斯丁核聚變反應堆等世界上眾多研究機構。
Mcpherson 公司擁有多種不同焦距、具有許多不同選配件的C-T 型光譜儀可供您選擇。焦距范圍從0.67 米到2 米可選,可以滿足您幾乎所有的光譜探測的需要。
McPerson 公司提供超長焦距的超高分辨率光譜儀解決方案,光譜分辨率*高可達0.005nm。
超高分辨率光譜儀一覽表
• 高分辨率和高光通量
• 具有**技術的“嵌入式”光柵
• 光學成像& 大尺寸焦平面
• 階梯光柵及大尺寸光柵可選,且安裝簡便。
• 雙光路/ 分辨率倍增光學系統(Double Pass 選項)
• 多入口狹縫/ 出口狹縫的選擇、
• 高精度波長控制器、
• 結構堅固
Mcpherson 公司擁有多種不同焦距、具有許多不同選配件的C-T 型光譜儀可供您選擇。焦距范圍從0.67 米到2 米可選,可以滿足您幾乎所有的光譜探測的需要。
McPerson 公司提供超長焦距的超高分辨率光譜儀解決方案,光譜分辨率*高可達0.005nm。
超高分辨率光譜儀一覽表
特有的Double Pass 設計光譜儀
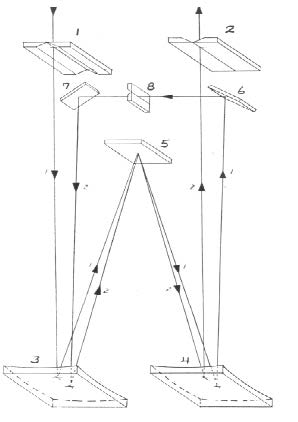
在McPherson 公司的光譜儀系列產品中,Double Pass 設計光譜儀顯得尤為特別。Double Pass 技術利用反射鏡不同的反射點在同一個光譜儀中衍射兩次,從而使得光譜分辨率提高一倍即相當于光譜儀焦長增加一倍的同時,保持f 數也就是通光量不變,McPherson 所有的長焦長光譜儀都可以采用此類設計。如下圖采用了Double Pass 設計的Model 2061 型光譜儀,焦距相當于2 m,光譜分辨率可提高一倍,但是f 數保持不變,仍然為f/7
1 米焦距的2061 型Mcpherson 光譜儀是光通量及光譜分辨率*佳結合的產品, 為實驗室光譜實驗的理想選擇。我們可提供兩款F 數為7 的光譜儀,多使用球面光學鏡片,同時也可提供型號為Model 2061A,該型號光譜儀的光學鏡片為由手工打磨拋光的離軸拋物面鏡片,用于獲得小尺寸影像的*佳成像效果。
非真空情況下,Model 2061 的光譜覆蓋范圍為185nm 到78 微米,真空情況下, 可以達到105nm(需要選擇合適的光柵),還可以采用折中的方式,如充氣體方式(例如氮氣),以滿足不同情況下的應用。Mcpherson 嵌入式光柵**技術, 可以在保證一致性精度的情況下,輕松便捷的更換光柵,以獲得更寬的光譜范圍及更高的分辨率,同時還可提供雙塔輪附件,從而達到更輕松切換光柵的目的。
Mcpherson 涂層選用Al+MgF 涂層鍍膜,該涂層提供了非常好的光譜響應。另, 可根據要求提供其他鍍膜方式(金、銀、鋁等涂層)。

在McPherson 公司的光譜儀系列產品中,Double Pass 設計光譜儀顯得尤為特別。Double Pass 技術利用反射鏡不同的反射點在同一個光譜儀中衍射兩次,從而使得光譜分辨率提高一倍即相當于光譜儀焦長增加一倍的同時,保持f 數也就是通光量不變,McPherson 所有的長焦長光譜儀都可以采用此類設計。如下圖采用了Double Pass 設計的Model 2061 型光譜儀,焦距相當于2 m,光譜分辨率可提高一倍,但是f 數保持不變,仍然為f/7
1 米焦距的2061 型Mcpherson 光譜儀是光通量及光譜分辨率*佳結合的產品, 為實驗室光譜實驗的理想選擇。我們可提供兩款F 數為7 的光譜儀,多使用球面光學鏡片,同時也可提供型號為Model 2061A,該型號光譜儀的光學鏡片為由手工打磨拋光的離軸拋物面鏡片,用于獲得小尺寸影像的*佳成像效果。
非真空情況下,Model 2061 的光譜覆蓋范圍為185nm 到78 微米,真空情況下, 可以達到105nm(需要選擇合適的光柵),還可以采用折中的方式,如充氣體方式(例如氮氣),以滿足不同情況下的應用。Mcpherson 嵌入式光柵**技術, 可以在保證一致性精度的情況下,輕松便捷的更換光柵,以獲得更寬的光譜范圍及更高的分辨率,同時還可提供雙塔輪附件,從而達到更輕松切換光柵的目的。
Mcpherson 涂層選用Al+MgF 涂層鍍膜,該涂層提供了非常好的光譜響應。另, 可根據要求提供其他鍍膜方式(金、銀、鋁等涂層)。

Douple Pass 光路結構:1. 入射狹縫;2. 出射狹縫; 3. 準直反射鏡; 4. 聚焦反射鏡; 5. 光柵; 6. Double Pass反射鏡; 7. Double Pass 反射鏡; 8.中央孔徑狹縫
Mcpherson高分辨率光譜儀儀器特點:
• 具有**技術的“嵌入式”光柵
• 光學成像& 大尺寸焦平面
• 階梯光柵及大尺寸光柵可選,且安裝簡便。
• 雙光路/ 分辨率倍增光學系統(Double Pass 選項)
• 多入口狹縫/ 出口狹縫的選擇、
• 高精度波長控制器、
• 結構堅固
• 可擴展更寬的波長范圍、• 可選的功能配件包括:光柵塔輪架、光學成像模塊、多路光源及多種探測器。











































































































13810233784
在線咨詢
